ಸ್ಯಾಮ್ಸಂಗ್ಗೆ ಸೆಡ್ಡು: ಆಪಲ್ನಿಂದ ಐಫೋನ್ ಫೋಲ್ಡ್ .!
ಸ್ಯಾಮ್ಸಂಗ್ ತನ್ನ ಗ್ಯಾಲೆಕ್ಸಿ X ಸ್ಮಾರ್ಟ್ಫೋನ್ ಅನ್ನು ಮಡಚುವ ಸ್ಮಾರ್ಟ್ಫೋನ್ ಮಾದರಿಯಲ್ಲಿ ವಿನ್ಯಾಸ ಮಾಡುತ್ತಿದ್ದು, ಶೀಘ್ರವೇ ಲಾಂಚ್ ಮಾಡುವುದಾಗಿ ತಿಳಿಸಿದ ಬೆನ್ನಲೇ ಆಪಲ್ ಕಂಪನಿ ಸಹ ಹೊಸದೊಂದು ಸಾಧ್ಯತೆಯನ್ನು ಬಯಲು ಮಾಡಿದ್ದು, ಪುಸ್ತಕದ ಮಾದರಿಯಲ್ಲಿ ಮಡಚುವ ಐಫೋನ್ ಅನ್ನು ತಾನು ಲಾಂಚ್ ಮಾಡುವುದಾಗಿ ತಿಳಿಸಿದ್ದು, ಅದರ ಬ್ಲೂ ಪ್ರಿಂಟ್ ಸಹ ಲೀಕ್ ಮಾಡಿದೆ.
.photo-feature-table tr:nth-child(even) {
background-color: #fff !important;
}
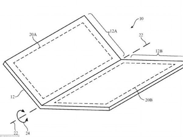
ಐಫೋನ್ ಅನ್ನು ಮಧ್ಯಕ್ಕೆ ಪುಸ್ತಕದ ಮಾದರಿಯಲ್ಲಿ ಮಡಚುವ ಮಾದರಿಯಲ್ಲಿ ನಿರ್ಮಿಸಲಾಗುವುದು ಎಂದು ಅಪಲ್ ತಿಳಿಸಿದ್ದು, ಈ ಮಡುಚುವ ತಂತ್ರಜ್ಞಾನವು ಯಾವ ಮಾದರಿಯಲ್ಲಿ ಕಾರ್ಯನಿರ್ವಹಿಸಲಿದೆ ಎನ್ನುವುದನ್ನು ಸಹ ತಿಳಿಸಿಕೊಟ್ಟಿದೆ ಎನ್ನಲಾಗಿದೆ. ಈಗಾಗಲೇ ಟಾಪ್ ಎಂಡ್ ಫೋನ್ ತಯಾರಿಕೆಯಲ್ಲಿ ಮತ್ತು ಅವುಗಳ ವಿಶೇಷತೆಗಳಲ್ಲಿ ಸ್ಯಾಮ್ಸಂಗ್ ಮತ್ತು ಆಪಲ್ ನಡುವೆ ಜಿದ್ದಾಜಿದ್ದು ನಡೆದುಕೊಂಡೆ ಬಂದಿದೆ. ಸ್ಯಾಮ್ಸಂಗ್ ಆಂಡ್ರಾಯ್ಡ್ ಟಾಪ್ ಎಂಡ್ಗಳನ್ನು ನಿರ್ಮಿಸಿದರೆ ಆಪಲ್ ಐಓಎಸ್ ಬಳಕೆಯ ಟಾಪ್ ಎಂಡ್ ಫೋನ್ಗಳನ್ನು ಬಿಡುಗಡೆ ಮಾಡುತ್ತಿವೆ. ಈ ಹಿನ್ನಲೆಯಲ್ಲಿ ಮಡುಚುವ ಸ್ಮಾರ್ಟ್ಫೋನ್ ಅನ್ನು ಈ ಎರಡು ಕಂಪನಿಗಳು ಪ್ರತಿಷ್ಠೆಯಾಗಿ ತೆಗೆದುಕೊಂಡಿವೆ. ಆಪಲ್ ಮಡಚುವ ಐಫೋನ್ ಲಾಂಚ್ ಮಾಡುವ ಸಲುವಾಗಿಯೇ ಹೊಸ ಮಾದರಿಯ ಡಿಸ್ಪ್ಲೇಯನ್ನು ಸಂಶೋಧನೆ ಮಾಡುತ್ತಿದೆ ಎನ್ನಲಾಗಿದೆ. ಇದರಿಂದಾಗಿ ಮೊಬೈಲ್ ಸ್ಮಾರ್ಟ್ಪೋನ್ ಡಿಸ್ಪ್ಲೇ ಅಭಿವೃದ್ಧಿಯಾಗುವ ಎಲ್ಲಾ ಲಕ್ಷಣಗಳು ಕಾಣುತ್ತಿದೆ ಎನ್ನಲಾಗಿದೆ.
ಪುಸ್ತಕದ ಮಾದರಿಯಲ್ಲಿ:

ಸ್ಯಾಮ್ಸಂಗ್ ವಿರುದ್ಧವಾಗಿ:

ಹೊಸ ಡಿಸ್ಪ್ಲೇ ಸಂಶೋಧನೆ:


Click it and Unblock the Notifications








